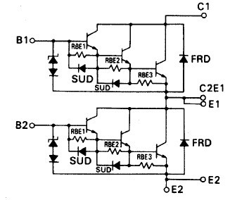
Product Summary
The 2DI30Z-120 is a 2-pack BJT.
Parametrics
2DI30Z-120 absolute maximum ratings: (1)VCBO: 1200V; (2)VCEO: 1200V; (3)VEBO: 10V; (4)IC: 30A; (5)ICP: 60A; (6)IC: 30A; (7)IB: 2A; (8)PC: 300W; (9)PC: 600W; (10)Tj: 150℃; (11)Tstg: -40 to 125℃; (12)m: 175g; (13)viso: 2500V.
Features
2DI30Z-120 features: (1)Including Free Wheeling Diode; (2)Excellent safe operating area; (3)Insulated type.
Diagrams

(Hong Kong)






